Av 101 Ex Iturraspe Nº895 - B1650BKM - San Martín

Volver

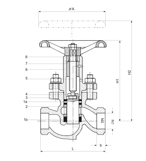
VALVULA DE RETENCION HORIZONTAL CKRHS AB 1/2" a 6"

Acero Carbono Fundido ASTM A 216 Gr WCB

Alternativa de construcción totalmente en Acero lnox.

Conexiones bridadas

CONSTRUCCIÓN
Partes Material
1 CUERPO ASTM A216 WCB
2 TAPA ASTM A216 WCB
3 ASIENTO Inoxidable
4 OBTURADOR Inoxidable
5 RESORTE Inoxidable
6 BUJE GUÍA Bronce
7 JUNTA TAPA Fibra sintética c/ graf.
8 JUNTA ASIENTO Fibra sintética c/ graf.
9 TUERCA TAPA Acero

TEST HIDROSTÁTICO - Cuerpo y cierre
Material A° y A° inox.
bar 64

Presión / Temp. Ambiente

Modelos

CKRHS-AB en Acero Fundido

CKRHS-IB en Acero Inoxidable


Presión máxima de trabajo: a 130°C

CKRHS-AB 40 atmósferas

CKRHS-IB 40 atmósferas

A temperaturas mayores, ver tabla de límites de presión y temperatura para vapor saturado


OBSERVACIONES
  1. Terminación de bridas: rayado según ANSI B 16.10 S300 RF.
  2. Salvo pedido específico, las bridas son entregadas sin perforar.
  3. A pedido las bridas pueden dimensioarse según DIN o ANSI S150 (en todas las medidas)
  4. También se fabrican con obturador plano con PTFE
DIMENSIONES
DN CUERPO CONEXIÓN Peso Aprox. (Kg.)
pulg. L D b g f
1/2 130 95 14 45 2 2.50
3/4 150 105 16 58 2 4.50
1 160 115 116 68 2 6.50
1 1/4 180 140 18 78 2 8.80
1 1/2 200 150 18 88 3 12.70
2 230 165 20 102 3 17
2 267 165 22 92 1.6 17
2 1/2 292 190.5 25.5 105 1.6 30
3 317 209.5 28.5 137 1.6 37
4 356 254 32 157 1.6 54
5 400 279.5 35 185 1.6 90
6 444 317 36.5 216 1.6 115