Av 101 Ex Iturraspe Nº895 - B1650BKM - San Martín

Volver

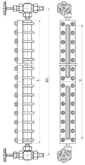
INDICADOR DE NIVEL VISUAL REFLEX

MODELO R20 CONJUNTO

Alternativa de construcción: Acero Inoxidable

OBSERVACIONES

1) El código de los modelos debe interpretarse de la sig. manera:

  • -el primer número indica la cantidad de módulos
  • -el segundo número indica el tamaño del cristal, la letra R, que el mismo es de reflexión, y el número 20 indica el modelo del nivel.

Ejemplo: 38 R 20 es un nivel de tres cuerpos con cristal reflex tamaño 8 modelo 20. La distancia entre centros (EC) es estandar. A pedido se realizan en medidas especiales.

CONSTRUCCIÓN